Instalación del adaptador en el panel
Esta sección describe cómo instalar el adaptador cableado en el panel y conectarlo a la Serie GPH6000 tipo cableado.
PELIGRO |
|---|
|
PELIGRO DE DESCARGA ELÉCTRICA, EXPLOSIÓN O ARCO ELÉCTRICO
Si no se siguen estas instrucciones, se producirán lesiones graves o la muerte.
|
| AVISO |
|---|
|
DAÑOS MATERIALES
Si no se siguen estas instrucciones, pueden producirse daños en el equipo.
|
| AVISO |
|---|
|
DAÑOS MATERIALES
No permita que el conector del cable caiga ni golpee contra
nada duro
Si no se siguen estas instrucciones, pueden producirse daños en el equipo.
|
Prepare el cable dedicado con antelación. Para obtener instrucciones sobre cómo conectar el cable al producto, consulte Instalación del cable dedicado.
Contenido del paquete del cable de conexión del adaptador con cable
A. Tornillo de instalación (M3) x 5
B. Cable x 1
Procedimiento de instalación
- De acuerdo con las Dimensiones del corte del panel de este producto, recorte una abertura de montaje en el panel.
- Retire la tuerca del adaptador.
- Coloque la junta suministrada al conector del cable en el adaptador.
- Inserte la parte de conexión del cable del adaptador por la parte posterior del panel.
- Fije el producto al panel con los tornillos (incluidos). Para obtener instrucciones sobre cómo usar los tornillos, consulte la sección correspondiente Dimensiones del corte del panel. Apriete los tornillos de instalación en el sentido de las agujas del reloj con un destornillador (Ph2). El par de apriete necesario es de 0,6 N•m (5,3 lb-in).
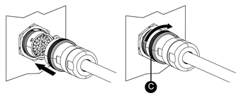
- Conecte el cable. Compruebe las formas de los conectores para colocarlos en la orientación correcta. Gire el anillo de bloqueo en el sentido de la flecha para fijar el cable.
PELIGRO



