アダプターのパネルへの取り付け
有線アダプターをパネルに取り付け、GPH6000 シリーズ有線タイプに接続する方法について説明します。
危険 |
|---|
|
感電、爆発、閃光アークの危険性
上記の指示に従わないと、死亡または重傷を負うことになります。
|
| 注記 |
|---|
|
機器の損傷
上記の指示に従わないと、機器の損傷を負う可能性があります。
|
| 注記 |
|---|
|
機器の損傷
ケーブルのコネクター部を落としたり、硬いものにあたらないようにしてください。
上記の指示に従わないと、機器の損傷を負う可能性があります。
|
事前に専用ケーブルを準備してください。本製品にケーブルを取り付ける方法については、専用ケーブルの取り付け を参照してください。
有線アダプター接続ケーブルの梱包内容
A. 取り付けネジ (M3) x 5
B. ケーブル x 1
取り付け手順
- 本製品のパネルカット寸法に従って、パネルに取り付け穴を開けます。
- アダプターからナットを取り外します。
- 付属のガスケットをアダプターのケーブル接続部に取り付けます。
- アダプターのケーブル接続部をパネルの背面側から挿入します。
- ネジ (付属) で製品をパネルに固定します。ネジの使用方法については、パネルカット寸法 を参照してください。ドライバー (Ph2) を使用して時計回りに取り付けネジを締めます。適正な締め付けトルクは 0.6 N•m (5.3 lb-in) です。
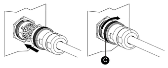
- ケーブルを接続します。コネクターの形状をよく確認し、正しい向きで取り付けてください。ロックリングを矢印の方向に回してケーブルを固定します。
危険



