어댑터를 패널에 설치하기
이 섹션에서는 유선 어댑터를 패널에 설치하고 GPH6000 시리즈 유선 유형에 연결하는 방법을 설명합니다.
위험 |
|---|
|
감전, 폭발 또는
아크 플래시 위험성
이러한 지침을 따르지 않을 경우 심각한 부상 또는 사망으로 이어질 수 있습니다.
|
| 주의 사항 |
|---|
|
장비 손상
이러한 지침을 따르지 않을 경우 장비 손상이 초래될 수 있습니다.
|
| 주의 사항 |
|---|
|
장비 손상
케이블의 커넥터가
떨어지거나 딱딱한
물체에 부딪히지 않게
하십시오.
이러한 지침을 따르지 않을 경우 장비 손상이 초래될 수 있습니다.
|
전용 케이블을 미리 준비하십시오. 케이블을 제품에 연결하는 방법에 관한 지침은 전용 케이블 설치하기를 참조하십시오.
유선 어댑터 연결 케이블 패키지 내용물
A. 설치 나사(M3) x 5
B. 케이블 x 1
설치 절차
- 제품의 패널 컷아웃 치수를 토대로 패널에 장착 구멍을 냅니다.
- 너트를 어댑터에서 제거합니다.
- 제공된 개스킷을 어댑터의 케이블 커넥터에 부착합니다.
- 어댑터의 케이블 연결 부분을 패널 뒷면에서 삽입합니다.
- 제품을 나사(동봉됨)로 패널에 부착합니다. 나사 사용 방법에 관한 지침은 패널 컷아웃 치수을 참조하십시오. 설치 나사를 드라이버(Ph2)로 시계 방향으로 조입니다. 필요한 토크는 0.6 N•m (5.3 lb-in)입니다.
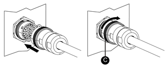
- 케이블을 연결합니다. 커넥터의 모양을 확인하여 올바른 방향으로 연결합니다. 잠금 링을 화살표 방향으로 돌려 케이블을 고정합니다.
위험



