Installazione dell'adattatore sul pannello
Questa sezione descrive come installare l'adattatore cablato sul pannello e collegarlo al tipo cablato Serie GPH6000.
PERICOLO |
|---|
|
RISCHIO DI SCARICA ELETTRICA, ESPLOSIONE O ARCO ELETTRICO
Il mancato rispetto di queste istruzioni provocherà morte o gravi infortuni.
|
| AVVISO |
|---|
|
DANNI ALLE APPARECCHIATURE
Il mancato rispetto di queste istruzioni può provocare danni alle apparecchiature.
|
| AVVISO |
|---|
|
DANNI ALLE APPARECCHIATURE
Non lasciare che il connettore del cavo cada o urti contro
qualcosa di duro.
Il mancato rispetto di queste istruzioni può provocare danni alle apparecchiature.
|
Preparare in anticipo il cavo dedicato. Per istruzioni su come collegare il cavo al prodotto, consultare il sito Installazione del cavo dedicato.
Contenuto della confezione cavo di collegamento adattatore cablato
A. Vite di installazione (M3) x 5
B. Cavo x 1
Procedura di installazione
- In base alle Dimensioni del cutout del pannello del prodotto, praticare un foro di montaggio sul pannello.
- Togliere il dado dall'adattatore.
- Applicare la guarnizione in dotazione al connettore del cavo sull'adattatore.
- Inserire la parte di collegamento del cavo dell'adattatore dal lato posteriore del pannello.
- Fissare il prodotto al pannello con le viti (incluse). Per le istruzioni su come usare le viti, fare riferimento a Dimensioni del cutout del pannello. Serrare le viti di installazione in senso orario con un cacciavite (Ph2). La coppia necessaria è 0,6 N•m (5,3 lb-in).
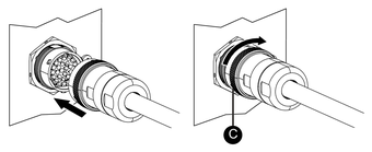
- Collegare il cavo. Controllare le forme dei connettori per fissarli con l'orientamento corretto. Ruotare l'anello di bloccaggio nella direzione della freccia per fissare il cavo.
PERICOLO



