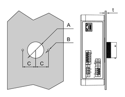
Dimensioni del cutout del pannello
In base alle dimensioni del cutout del pannello, aprire il foro di montaggio sul pannello.
|
A |
B |
C |
|---|---|---|
|
Φ39 ±0,15 mm (1,53...1,54 in) |
Φ4,5 ±0,1 mm (0,18 in) |
30,5 ±0,3 mm (1,19…1,21 in) |
|
Spessore del pannello |
Viti |
Numero di viti |
Dado |
|---|---|---|---|
|
1,5 ≤
t < 3 mm |
M4, lunghezza: 6 mm (0,24 in) |
2 pezzi |
Non è necessario utilizzare il dado. |
|
3 ≤
t < 5 mm |
M4, lunghezza: 8 mm (0,31 in) |
2 pezzi |
Non è necessario utilizzare il dado. |
|
1,5 ≤
t < 3 mm |
M4, lunghezza: 6 mm (0,24 in) |
1 pezzo |
È necessario utilizzare il dado. |

