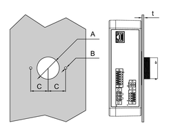
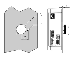
Abmessungen des Montageausschnitts
Erstellen Sie gemäß Ausschnittsabmessungen einen Montageausschnitt in der Platte.
|
A |
B |
C |
|---|---|---|
|
Φ39 ±0,15 mm (1,53...1,54 in) |
Φ4,5 ±0,1 mm (0,18 in) |
30,5 ±0,3 mm (1,19…1,21 in) |
|
Plattenstärke |
Schrauben |
Anzahl der Schrauben |
Mutter |
|---|---|---|---|
|
1,5 ≤
t < 3 mm |
M4, Länge: 6 mm (0,24 in) |
2 Teile |
Keine Mutter erforderlich. |
|
3 ≤
t < 5 mm |
M4, Länge: 8 mm (0,31 in) |
2 Teile |
Keine Mutter erforderlich. |
|
1,5 ≤
t < 3 mm |
M4, Länge: 6 mm (0,24 in) |
1 Teil |
Mutter erforderlich. |

