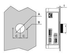
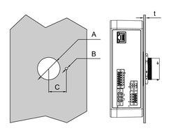
Dimensiones del corte del panel
Corte una abertura de montaje en el panel según las dimensiones de corte del mismo.
|
A |
B |
C |
|---|---|---|
|
Φ39 ±0,15 mm (1,53...1,54 in) |
Φ4,5 ±0,1 mm (0,18 in) |
30,5 ±0,3 mm (1,19…1,21 in) |
|
Grosor del panel |
Tornillos |
Número de tornillos |
Tuerca |
|---|---|---|---|
|
1,5 ≤
t < 3 mm |
M4, longitud: 6 mm (0,24 in) |
2 piezas |
No es necesario usar una tuerca. |
|
3 ≤
t < 5 mm |
M4, longitud: 8 mm (0,31 in) |
2 piezas |
No es necesario usar una tuerca. |
|
1,5 ≤
t < 3 mm |
M4, longitud: 6 mm (0,24 in) |
1 pieza |
Es necesario usar una tuerca. |

