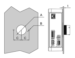
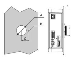
Dimensions de découpe du panneau
Selon les dimension de découpe du panneau, ouvrez un trou de montage dans le panneau.
|
A |
B |
C |
|---|---|---|
|
Φ39 ±0,15 mm (1,53...1,54 in) |
Φ4.5 ±0,1 mm (0,18 in) |
30,5 ±0,3 mm (1,19...1,21 in) |
|
Épaisseur du support |
Vis |
Nombre de vis |
Écrou |
|---|---|---|---|
|
1,5 ≤
t < 3 mm |
M4, Longueur : 6 mm (0,24 in) |
2 pièces |
Il n'est pas nécessaire d'utiliser un écrou. |
|
3 ≤
t < 5 mm |
M4, Longueur : 8 mm (0,31 in) |
2 pièces |
Il n'est pas nécessaire d'utiliser un écrou. |
|
1,5 ≤
t < 3 mm |
M4, Longueur : 6 mm (0,24 in) |
1 pièce |
Nécessité d'utiliser un écrou. |

