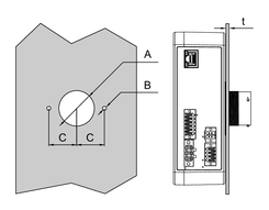
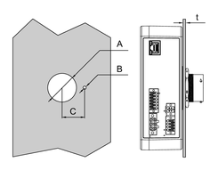
패널 컷아웃 치수
패널 컷아웃 치수에 따라 패널에 장착용 구멍을 엽니다.
|
A |
B |
C |
|---|---|---|
|
Φ39 ±0.15 mm (1.53...1.54 in) |
Φ4.5 ±0.1 mm (0.18 in) |
30.5 ±0.3 mm (1.19…1.21 in) |
|
패널 두께 |
나사 |
나사 개수 |
너트 |
|---|---|---|---|
|
1.5 ≤
t < 3 mm |
M4, 길이: 6 mm (0.24 in) |
2개 |
너트가 필요 없습니다. |
|
3 ≤
t < 5 mm |
M4, 길이: 8 mm (0.31 in) |
2개 |
너트가 필요 없습니다. |
|
1.5 ≤
t < 3 mm |
M4, 길이: 6 mm (0.24 in) |
1개 |
너트가 필요합니다. |

