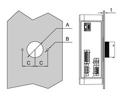
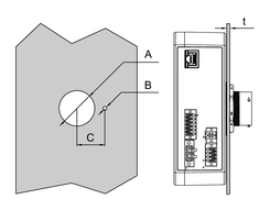
面板开孔尺寸
根据面板开孔尺寸,在面板上开出一个安装孔。
|
A |
B |
C |
|---|---|---|
|
Φ39 ±0.15 mm (1.53...1.54 in) |
Φ4.5 ±0.1 mm (0.18 in) |
30.5 ±0.3 mm (1.19…1.21 in) |
|
面板厚度 |
螺钉 |
螺钉数量 |
螺母 |
|---|---|---|---|
|
1.5 ≤
t < 3 mm |
M4,长度:6 mm (0.24 in) |
2 件 |
无需使用螺母。 |
|
3 ≤
t < 5 mm |
M4,长度:8 mm (0.31 in) |
2 件 |
无需使用螺母。 |
|
1.5 ≤
t < 3 mm |
M4,长度:6 mm (0.24 in) |
1 件 |
需要使用螺母。 |

