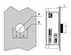
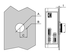
パネルカット寸法
パネルカット寸法に基づいて、パネルに取り付け穴を開けます。
|
A |
B |
C |
|---|---|---|
|
Φ39 ±0.15 mm (1.53...1.54 in) |
Φ4.5 ±0.1 mm (0.18 in) |
30.5 ±0.3 mm (1.19…1.21 in) |
|
パネル厚 |
ネジ |
ネジの数 |
ナット |
|---|---|---|---|
|
1.5 ≤
t < 3 mm |
M4、長さ:6 mm (0.24 in) |
2 個 |
ナットを使用する必要はありません。 |
|
3 ≤
t < 5 mm |
M4、長さ:8 mm (0.31 in) |
2 個 |
ナットを使用する必要はありません。 |
|
1.5 ≤
t < 3 mm |
M4、長さ:6 mm (0.24 in) |
1 個 |
ナットを使用する必要があります。 |

