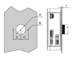
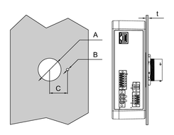
Panel Cutout Dimensions
Based on the panel cutout dimensions, open a mounting hole on the panel.
|
A |
B |
C |
|---|---|---|
|
Φ39 ±0.15 mm (1.53...1.54 in) |
Φ4.5 ±0.1 mm (0.18 in) |
30.5 ±0.3 mm (1.19…1.21 in) |
|
Panel thickness |
Screws |
Number of screws |
Nut |
|---|---|---|---|
|
1.5 ≤
t < 3 mm |
M4, length: 6 mm (0.24 in) |
2 pieces |
No need to use nut. |
|
3 ≤
t < 5 mm |
M4, length: 8 mm (0.31 in) |
2 pieces |
No need to use nut. |
|
1.5 ≤
t < 3 mm |
M4, length: 6 mm (0.24 in) |
1 piece |
Need to use nut. |

