Installation de l'adaptateur sur le panneau
Cette section décrit comment installer l'adaptateur filaire sur le panneau et le brancher au type câblé GPH6000 Series.
DANGER |
|---|
|
RISQUE DE CHOC ELECTRIQUE, D'EXPLOSION
OU D'ARC ELECTRIQUE
Le non-respect de ces instructions provoquera la mort ou des blessures graves.
|
| AVIS |
|---|
|
RISQUE DE DETERIORATION DU MATERIEL
Le non-respect de ces instructions peut provoquer des dommages matériels.
|
| AVIS |
|---|
|
RISQUE DE DETERIORATION DU MATERIEL
Ne laissez pas le connecteur du câble tomber ou heurter
un objet dur.
Le non-respect de ces instructions peut provoquer des dommages matériels.
|
Préparez le câble dédié à l'avance. Pour savoir comment fixer le câble au produit, voir Installation du câble dédié.
Contenu de l'emballage du câble de connexion de l'adaptateur filaire
A. Vis d'installation (M3) x 5
B. Câble x 1
Procédure d'installation
- Selon le Dimensions de découpe du panneau de ce produit, faites un trou de montage dans le panneau.
- Retirez l'écrou de l'adaptateur.
- Fixez le joint fourni au connecteur de câble de l'adaptateur.
- Insérez la partie de connexion du câble de l'adaptateur par l'arrière du panneau.
- Fixez le produit au panneau à l'aide des vis (incluses). Pour obtenir des instructions sur l'utilisation des vis, reportez-vous à la section Dimensions de découpe du panneau. Serrez les vis d'installation dans le sens horaire à l'aide d'un tournevis (Ph2). Le couple nécessaire est de 0,6 N•m (5,3 lb-in).
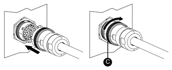
- Raccordez le câble. Vérifiez la forme des connecteurs pour les fixer dans le bon sens. Tournez l'anneau de verrouillage dans le sens de la flèche pour fixer le câble.
DANGER



