Anbringen des Adapters an der Platte
In diesem Abschnitt wird beschrieben, wie der kabelgebundene Adapter an der Montageplatte montiert und an das kabelgebundene GPH6000-Serie angeschlossen wird.
GEFAHR |
|---|
|
GEFAHR VON ELEKTRISCHEM
SCHLAG, EXPLOSION ODER LICHTBOGEN
Die Nichtbeachtung dieser Anweisungen hat Tod oder schwere Verletzungen zur Folge.
|
| HINWEIS |
|---|
|
BESCHÄDIGUNG VON GERÄTEN
Die Nichtbeachtung dieser Anweisungen kann Sachschäden zur Folge haben.
|
| HINWEIS |
|---|
|
BESCHÄDIGUNG VON GERÄTEN
Achten Sie darauf, dass der Stecker des Kabels nicht herunterfällt
oder gegen einen harten Gegenstand stößt.
Die Nichtbeachtung dieser Anweisungen kann Sachschäden zur Folge haben.
|
Bereiten Sie das entsprechende Kabel vor. Anweisungen zum Anschluss des Kabels an das Gerät finden Sie unter Montieren des vorgesehenen Kabels.
Verpackungsinhalt kabelgebundenes Adapteranschlusskabel
A. Befestigungsschraube (M3) x 5
B. Kabel x 1
Montageverfahren
- Erstellen Sie gemäß Abmessungen des Montageausschnitts für dieses Produkt eine Montageöffnung in der Montageplatte.
- Entfernen Sie die Mutter vom Adapter.
- Bringen Sie die mitgelieferte Dichtung am Kabelanschluss des Adapters an.
- Führen Sie das Kabelanschlussteil des Adapters über die Rückseite der Platte ein.
- Befestigen Sie das Produkt mit den Schrauben (im Lieferumfang enthalten) an der Platte. Eine Anleitung zur Verwendung der Schrauben finden Sie unter Abmessungen des Montageausschnitts. Ziehen Sie die Montageschrauben mit einem Schraubendreher (Ph2) im Uhrzeigersinn an. Das erforderliche Anzugsdrehmoment beträgt 0,6 N•m (5,3 lb-in).
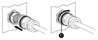
- Schließen Sie das Kabel an. Überprüfen Sie die Form der Stecker, um sie in der richtigen Ausrichtung anzubringen. Drehen Sie den Sicherungsring in Pfeilrichtung, um das Kabel zu sichern.
GEFAHR



