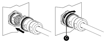
将适配器安装到面板
本节介绍如何将有线适配器安装到面板上并将其连接到 GPH6000 系列 有线型。
危险 |
|---|
|
电击、爆炸或电弧危险
未按说明操作将导致人身伤亡等严重后果。
|
| 注意 |
|---|
|
设备损坏
不遵循上述说明可能导致设备损坏。
|
| 注意 |
|---|
|
设备损坏
请勿让电缆的连接器掉落或撞到任何硬物。
不遵循上述说明可能导致设备损坏。
|
提前准备专用电缆。有关如何将电缆连接到产品的说明,请参阅 安装专用电缆。
有线适配器连接电缆装箱物品
A. 安装螺钉 (M3) x 5
B. 电缆 x 1
安装步骤
危险



