取り外し手順
危険 |
|---|
|
感電、爆発、閃光アークの危険性
上記の指示に従わないと、死亡または重傷を負うことになります。
|
注意 |
|---|
|
怪我のおそれ
パネルから取り外す際は、本製品を落とさないようにご注意ください。
上記の指示に従わないと、負傷または機器の損傷を負う可能性があります。
|
| 注記 |
|---|
|
機器の損傷
取り付け金具を取り付ける、または取り外す間は、パネルカットの中で本製品を安定させてください。
上記の指示に従わないと、機器の損傷を負う可能性があります。
|
| 注記 |
|---|
|
機器の損傷
脱落防止フックを押し込みながら、または脱落防止フックがパネルに当たらないよう、本製品を取り外してください。
上記の指示に従わないと、機器の損傷を負う可能性があります。
|
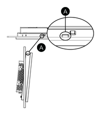
- ドライバーを使用して、上下左右にある取り付け金具を対角かつ交互に少しずつ左回しに緩めます。注記: ご使用機種の取り付け金具数については、取り付け手順 の手順 3、取り付け金具数を参照してください。
- 製品上面の脱落防止フックを押し込みながら、製品をパネルからゆっくり取り外します。
危険
注意
