Removal Procedure
DANGER |
|---|
|
HAZARD OF ELECTRIC SHOCK, EXPLOSION, OR ARC FLASH
Failure to follow these instructions will result in death or serious injury.
|
CAUTION |
|---|
|
RISK OF INJURY
Do
not drop this product when you remove it from the panel.
Failure to follow these instructions can result in injury or equipment damage.
|
| NOTICE |
|---|
|
EQUIPMENT DAMAGE
Keep this product stabilized in the panel cutout
while you are installing or removing the screw fasteners.
Failure to follow these instructions can result in equipment damage.
|
| NOTICE |
|---|
|
EQUIPMENT DAMAGE
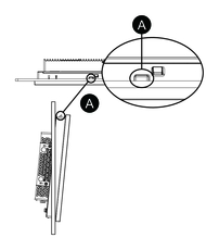
Remove this product while pushing the anti-drop lock
or by making sure the lock does not touch the panel.
Failure to follow these instructions can result in equipment damage.
|
- Using a screwdriver, gradually loosen the screws for the
fasteners (top, bottom, left, and right), alternating diagonally between
screws until all screws are loose.NOTE: For the number of installation fasteners on your model, refer to Number of Installation Fasteners in step 3 of Installation Procedure.
- While pushing on the anti-drop lock on the top of the product, slowly remove the product from the panel.
DANGER
CAUTION
