Procedimiento de desmontaje
PELIGRO |
|---|
|
PELIGRO DE DESCARGA ELÉCTRICA, EXPLOSIÓN O ARCO ELÉCTRICO
Si no se siguen estas instrucciones, se producirán lesiones graves o la muerte.
|
ATENCIÓN |
|---|
|
RIESGO DE DAÑOS PERSONALES
No deje que este producto se caiga cuando lo saque del panel.
Si no se siguen estas instrucciones, pueden producirse lesiones o daños en el equipo.
|
| AVISO |
|---|
|
DAÑOS MATERIALES
Mantenga este producto estabilizado en el corte
del panel cuando instale o retire los tornillos de sujeción.
Si no se siguen estas instrucciones, pueden producirse daños en el equipo.
|
| AVISO |
|---|
|
DAÑOS MATERIALES
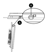
Saque este producto mientras presiona el seguro anticaída o
bien asegúrese de que dicho seguro no toque el panel.
Si no se siguen estas instrucciones, pueden producirse daños en el equipo.
|
- Utilice un destornillador para aflojar los tornillos gradualmente
(girar en sentido horario) de las piezas de sujeción (superior,
inferior, izquierdo y derecho), alternando de manera diagonal entre
los tornillos hasta que estén todos bien sueltos.NOTA: Para conocer el número de piezas de sujeción de su modelo, consulte la sección Número de sujetadores de instalación en el paso 3 de Procedimiento de instalación.
- Mientras presiona el seguro anticaída en la parte superior producto, retire lentamente el producto del panel.
PELIGRO
ATENCIÓN
