제거 절차
위험 |
|---|
|
감전, 폭발 또는
아크 플래시 위험성
이러한 지침을 따르지 않을 경우 심각한 부상 또는 사망으로 이어질 수 있습니다.
|
주의 |
|---|
|
상해 위험
이
제품을 패널에서 제거할
때 떨어뜨리지 마십시오.
이러한 지침을 따르지 않을 경우 부상 또는 장비 손상이 초래될 수 있습니다.
|
| 주의 사항 |
|---|
|
장비 손상
나사 파스너를
설치하거나 제거하는
동안 이 제품을 패널
컷아웃에 안정적으로
놓으십시오.
이러한 지침을 따르지 않을 경우 장비 손상이 초래될 수 있습니다.
|
| 주의 사항 |
|---|
|
장비 손상
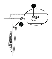
낙하 방지 잠금장치를
누르면서 잠금장치가
패널에 접촉되지 않도록
하여 제품을 제거하십시오.
이러한 지침을 따르지 않을 경우 장비 손상이 초래될 수 있습니다.
|
- 드라이버로 파스너의
나사(상하좌우)를 서서히
풀되 모든 나사가 풀릴
때까지 나사 간에 대각선으로
번갈아 가며 풉니다.주의: 사용 모델에 있는 설치 파스너의 수는 설치 절차 3단계에 있는 설치 파스너의 수를 참조하십시오.
- 제품 상단의 낙하 방지 잠금 장치를 누르면서 제품을 패널에서 천천히 제거합니다.
위험
주의
