Procédure de retrait
DANGER |
|---|
|
RISQUE DE CHOC ELECTRIQUE, D'EXPLOSION
OU D'ARC ELECTRIQUE
Le non-respect de ces instructions provoquera la mort ou des blessures graves.
|
ATTENTION |
|---|
|
RISQUE DE BLESSURES
Ne faites pas tomber ce produit lorsque vous le retirez du panneau.
Le non-respect de ces instructions peut provoquer des blessures ou des dommages matériels.
|
| AVIS |
|---|
|
RISQUE DE DETERIORATION DU MATERIEL
Maintenez ce produit stable dans la découpe
panneau lorsque vous installez ou retirez les vis de fixation.
Le non-respect de ces instructions peut provoquer des dommages matériels.
|
| AVIS |
|---|
|
RISQUE DE DETERIORATION DU MATERIEL
Retirez le
produit pendant que vous appuyez sur le verrou anti-chute ou assurez-vous
que le verrou ne touche pas le panneau.
Le non-respect de ces instructions peut provoquer des dommages matériels.
|
- À l'aide d'un tournevis, desserrez progressivement
les vis pour les attaches (haut, bas, gauche et droite), en passant
en diagonale entre les vis jusqu'à ce qu'elles soient toutes
desserrées.NOTE: Pour le nombre de fixations d'installation pour votre modèle, voir la section Nombre de fixations d'installation à l'étape 3 de Procédure d'installation.
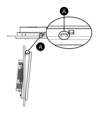
- Tout en appuyant sur le verrou anti-chute sur le dessus du produit, retirez lentement le produit du panneau.
DANGER
ATTENTION
