Procedura di rimozione
PERICOLO |
|---|
|
RISCHIO DI SCARICA ELETTRICA, ESPLOSIONE O ARCO ELETTRICO
Il mancato rispetto di queste istruzioni provocherà morte o gravi infortuni.
|
ATTENZIONE |
|---|
|
RISCHIO
DI LESIONI
Non far cadere il prodotto
mentre si rimuove dal pannello.
Il mancato rispetto di queste istruzioni può provocare infortuni o danni alle apparecchiature.
|
| AVVISO |
|---|
|
DANNI ALLE APPARECCHIATURE
Mantenere il prodotto inserito nell'apertura del
pannello mentre si installano o si rimuovono i dispositivi di fissaggio
a vite.
Il mancato rispetto di queste istruzioni può provocare danni alle apparecchiature.
|
| AVVISO |
|---|
|
DANNI ALLE APPARECCHIATURE
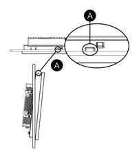
Rimuovere il prodotto mentre si preme
il blocco anticaduta o accertarsi che il blocco non tocchi il pannello.
Il mancato rispetto di queste istruzioni può provocare danni alle apparecchiature.
|
- Usando un cacciavite, allentare le viti gradualmente per
gli elementi di fissaggio (in alto, in basso, a sinistra e a destra),
alternando diagonalmente le viti finché non vengono rimosse.NOTA: Per il numero di elementi di fissaggio del proprio modello, vedere Numero dei dispositivi di fissaggio di installazione al punto 3 di Procedura di installazione.
- Mentre si preme sul blocco anticaduta sulla sommità di questo prodotto, rimuovere lentamente il prodotto dal pannello.
PERICOLO
ATTENZIONE
