Schritte zur Entfernung
GEFAHR |
|---|
|
GEFAHR VON ELEKTRISCHEM
SCHLAG, EXPLOSION ODER LICHTBOGEN
Die Nichtbeachtung dieser Anweisungen hat Tod oder schwere Verletzungen zur Folge.
|
VORSICHT |
|---|
|
VERLETZUNGSGEFAHR
Lassen Sie das Produkt beim Entfernen aus
der Montageplatte nicht fallen.
Die Nichtbeachtung dieser Anweisungen kann Verletzungen oder Sachschäden zur Folge
haben.
|
| HINWEIS |
|---|
|
BESCHÄDIGUNG VON GERÄTEN
Sorgen Sie beim Anbringen oder Entfernen der Halter
für die Schraubmontage für einen stabilen Sitz des Geräts
im Montageausschnitt.
Die Nichtbeachtung dieser Anweisungen kann Sachschäden zur Folge haben.
|
| HINWEIS |
|---|
|
BESCHÄDIGUNG VON GERÄTEN
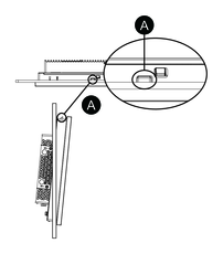
Entfernen Sie das Gerät, während Sie gegen
die Fallsicherung drücken bzw. indem Sie darauf achten, dass
die Sicherung nicht die Platte berührt.
Die Nichtbeachtung dieser Anweisungen kann Sachschäden zur Folge haben.
|
- Lockern Sie die Schrauben für die Befestigungen (oben,
unten, links und rechts) mit einem Schraubendreher nach und nach diagonal
abwechselnd, bis alle lose sind.HINWEIS: Die Anzahl der Installationsbefestigungen an Ihrem Modell finden Sie unter „Anzahl der Installationsbefestigungen“ in Schritt 3 unter Montageverfahren.
- Entfernen Sie das Gerät langsam aus der Platte, während Sie auf die oben befindliche Fallsicherung drücken.
GEFAHR
VORSICHT
