拆卸步骤
危险 |
|---|
|
电击、爆炸或电弧危险
未按说明操作将导致人身伤亡等严重后果。
|
小心 |
|---|
|
拆装风险
从面板上卸下时不要跌落产品。
不遵循上述说明可能导致人身伤害或设备损坏。
|
| 注意 |
|---|
|
设备损坏
当正在安装或取出固定螺丝时将产品稳定固定在面板开孔内。
不遵循上述说明可能导致设备损坏。
|
| 注意 |
|---|
|
设备损坏
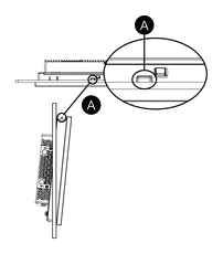
务必在按住防坠锁时卸下本产品,或确保防坠锁不会碰到面板。
不遵循上述说明可能导致设备损坏。
|
- 以两个螺钉之间交替对角线的方式,使用螺丝刀逐渐松开扣件的螺钉(上下左右),直至全部松开。注: 有关您所使用型号的安装扣件数,请参阅 安装步骤中的步骤3。
- 按住产品顶部的防坠锁的同时,慢慢从面板中卸下产品。
危险
小心
