Extracción de la tarjeta SD
Si retira la tarjeta SD mientras está en uso, corre el riesgo de corromper los datos. Antes de extraer la tarjeta SD de este producto, detenga todas la operaciones en la tarjeta.
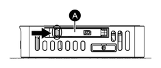
- Asegúrese de que el LED de acceso a la tarjeta SD
está apagado y, a continuación, abra la tapa de la ranura
para tarjetas SD. Para abrir la tapa de la ranura, presione ligeramente
el borde de la tapa en la dirección de la flecha.NOTA:
-
Cuando utilice un tipo de montaje DIN, abra la tapa de la tarjeta SD para encontrar el botón de expulsión de la tarjeta SD. Presione el botón de expulsión para extraer el hardware de forma segura. Cuando este producto y la tarjeta SD están desconectados, el LED de acceso a la tarjeta SD se apaga.
-
No mantenga pulsado el botón de expulsión de la tarjeta SD. Si mantiene pulsado el botón de expulsión, el producto se reiniciará. Para obtener más información, consulte Botón de expulsión.
-
- Para retirar la tarjeta SD, empújela una vez para
liberarla y luego sáquela.NOTA: Después de usar la tarjeta SD, guárdela en su estuche o en otro lugar seguro.
- Cierre la cubierta de la ranura para tarjeta SD.


