Rimuovere la scheda SD
Se si rimuove la scheda SD durante il suo utilizzo, si rischia di corrompere i dati. Prima di rimuovere la scheda SD da questo prodotto, fermare tutte le operazioni della scheda SD.
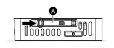
- Assicurarsi che il LED di accesso della scheda SD sia spento,
poi aprire il coperchio dell'alloggiamento della scheda SD. Per aprire
il coperchio dell'alloggiamento, spingere leggermente il bordo del
coperchio in direzione della freccia.NOTA:
-
Se si utilizza il tipo di montaggio DIN, aprire il coperchio della scheda SD per trovare il pulsante di espulsione della scheda SD. Premere il pulsante di espulsione per Rimozione sicura dell'hardware. Quando il prodotto e la scheda SD sono scollegati, il LED di accesso alla scheda SD si spegne.
-
Non tenere premuto il pulsante di espulsione della scheda SD. Se si tiene premuto il pulsante di espulsione, il prodotto si riavvia. Per ulteriori informazioni, consultare Pulsante di espulsione.
-
- Premere la scheda SD fino al suo rilascio ed estrarre la
scheda.NOTA: Al termine dell'utilizzo della scheda SD, riporla nella sua custodia o in altra posizione protetta.
- Chiudere lo sportellino del vano scheda SD.


