SD カードの取り外し
SD カードを使用中に取り外すと、データが破損するおそれがあります。本製品から SD カードを取り出す前に、SD カードのすべての処理を停止してください。
- SD カードアクセス
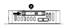
LED が消灯していることを確認して、SD
カードスロットカバーを開きます。カバーの端を矢印の方向に軽く押すと、スロットカバーが開きます。注記:
-
DIN マウントタイプを使用する場合、SD カードカバーを開き、SD カードイジェクトボタンを探します。ハードウェアを安全に取り外すために、イジェクトボタンを押します。本製品と SD カードの接続が解除されると、SD カードアクセス LED が消灯します。
-
SD カードイジェクトボタンは長押ししないでください。イジェクトボタンを長押しすると、製品が再起動します。詳細は イジェクトボタンを参照してください。
-
- SD カードを 1 度、カード挿入方向に押し込むと
SD カードが取り出せます。注記: SD カードの使用後は、SD カード付属のケースやその他の安全な場所に保管してください。
- SD カードスロットカバーを閉じます。


