Retirer la carte SD
Si vous retirez la carte SD alors qu'elle est en cours d'utilisation, vous risquez de corrompre les données. Avant de la retirer du produit, arrêtez toutes les opérations sur la carte SD.
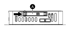
- Assurez-vous que le voyant d'accès à la carte
SD est éteint, puis ouvrez le couvercle du logement de la carte
SD. Pour ouvrir le couvercle du logement, poussez légèrement
le bord du couvercle dans le sens de la flèche.NOTE:
-
Lors de l'utilisation d'un type de montage DIN, ouvrez le couvercle de la carte SD pour trouver le bouton d'éjection de la carte SD. Appuyez sur le bouton d'éjection pour retirer le matériel en toute sécurité. Lorsque ce produit et la carte SD sont déconnectés, le voyant d'accès à la carte SD s'éteint.
-
Ne maintenez pas enfoncé le bouton d'éjection de la carte SD. Si vous appuyez sur le bouton d'éjection et le maintenez enfoncé, le produit redémarre. Pour plus d'informations, consultez Boutons d'éjection.
-
- Appuyez sur la carte SD une fois pour la libérer,
puis retirez-la.NOTE: Après avoir utilisé la carte SD, rangez-la dans son étui ou dans un autre endroit sûr.
- Fermer le capot de l'emplacement SD.


