Entfernen der SD-Karte
Wird die SD-Karte entfernt, während Sie in Betrieb ist, können ihre Daten beschädigt werden. Vor dem Entfernen der SD-Karte aus diesem Produkt müssen alle Vorgänge der SD-Karte angehalten werden.
- Stellen Sie sicher, dass die LED für den SD-Kartenzugriff
nicht leuchtet, und öffnen Sie dann die Abdeckung des SD-Kartensteckplatzes.
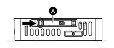
Zum Öffnen der Steckplatzabdeckung drücken Sie die Kante
der Abdeckung leicht in Pfeilrichtung.HINWEIS:
-
Beim Typ DIN-Montage öffnen Sie zunächst die Abdeckung des SD-Kartensteckplatzes und betätigen dann die darin befindliche Auswurftaste. Durch Betätigung der Auswurftaste wird die Hardware sicher entfernt. Bei Entfernen der SD-Karte vom Produkt erlischt die SD-Kartenzugriffs-LED.
-
Halten Sie die Auswurftaste der SD-Karte nicht gedrückt. Bei Gedrückthalten der Auswurftaste wird das Gerät neu gestartet. Weitere Informationen finden Sie im Auswurftaste.
-
- Tippen Sie die SD-Karte einmal kurz an, um sie zu entriegeln,
und ziehen Sie die Karte heraus.HINWEIS: Bewahren Sie die SD-Karte nach ihrer Verwendung in ihrem Behälter oder an einem anderen sicheren Ort auf.
- Schließen Sie die SD-Kartenabdeckung.


