SD 카드 제거하기
사용 중에 SD 카드를 제거하면 데이터가 손상될 위험이 있습니다. 이 제품에서 SD 카드를 제거하기 전에 SD 카드의 모든 작업을 중지하십시오.
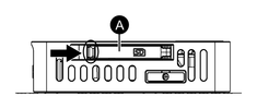
- SD 카드 액세스 LED가
꺼져 있는지 확인한
다음 SD 카드 슬롯 덮개를
엽니다. 슬롯 커버를
열려면 커버의 가장자리를
화살표 방향으로 가볍게
밉니다.주의:
-
DIN 장착형을 사용하는 경우 SD 카드 커버를 열어 SD 카드 꺼내기 버튼를 찾으십시오. 꺼내기 버튼를 눌러 하드웨어를 안전하게 빼내십시오. 이 제품과 SD 카드가 분리되면 SD 카드 액세스 LED가 꺼집니다.
-
SD 카드 꺼내기 버튼를 누르고 있지 마십시오. 꺼내기 버튼를 누르고 있으면 제품이 재부팅됩니다. 자세히 자세한 내용은 꺼냄 버튼을 참조하십시오.
-
- SD 카드를 한 번 밀어
풀리게 한 다음 카드를
꺼냅니다.주의: SD 카드를 사용한 후에는 SD 카드를 자체 케이스나 기타 안전한 장소에 보관하십시오.
- SD 카드 슬롯 덮개를 닫습니다.


