SD 卡移除
如果当 SD 卡正在使用时拔出它,则可能会造成数据损坏。在将 SD 卡从本产品中拔出前,请停止 SD 卡上的所有操作。
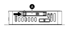
- 确保 SD 卡访问 LED 熄灭,然后打开
SD 卡插槽盖。要打开插槽盖,请沿箭头方向轻推盖子的边缘。注:
-
使用 DIN 安装类型时,打开 SD 卡盖,找到 SD 卡弹出按钮。按下弹出按钮以安全移除硬件。当本产品和 SD 卡断开连接时,SD 卡访问 LED 熄灭。
-
请勿按住 SD 卡弹出按钮。如果按住弹出按钮,产品将重新启动。有关详细信息,请参阅 弹出按钮。
-
- 按一下 SD 卡使其松开,然后拔出卡。注: 使用 SD 卡后,请将 SD 卡保存在卡盒中或其他安全的地方。
- 关闭 SD 卡插槽盖。


