GP6000-MM01-ES.00

Insertar la tarjeta SD

NOTA: Tal como se muestra en la siguiente imagen (el ejemplo a mano izquierda), puede establecer el mecanismo de protección contra escritura para impedir operaciones de escritura en la tarjeta SD. Empuje el mecanismo hacia arriba, tal como se muestra en el ejemplo a la derecha, para liberar el bloque y permitir operaciones de escritura en la tarjeta SD. Antes de usar una tarjeta SD de tipo comercial, lea las instrucciones del fabricante.
  1. Pestaña de control de escritura

  2. Escritura desactivada (activar para leer)

  3. Escritura activada

  1. Toque la carcasa o la conexión a tierra (no la fuente de alimentación) para descargar la energía electrostática de su cuerpo.
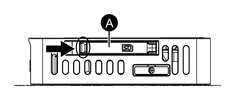
  2. Abra la cubierta de la ranura para tarjeta SD. Para abrir, presione ligeramente el borde de la tapa en la dirección de la flecha.
    1. Cubierta de la ranura para tarjeta SD.

  3. Introduzca la tarjeta SD en la ranura de la tarjeta SD con la cara de la tarjeta hacia arriba.
  4. Empuje hasta que escuche un "clic".
  5. Cierre la cubierta de la ranura para tarjeta SD.

Resultados de búsqueda (0)

Cerrar