GP6000-MM01-JA.00

SD カードの挿入

注記: 下の図の左側の例に示すように、書き込み禁止タブを使用して SD メモリーカードへの書き込みを防ぐことができます。右の例のようにつまみを押し上げると SD カードの書き込み防止を解除できます。市販の SD カードをご使用の場合は、製造元の取扱説明書を参照してください。
  1. 書き込み禁止タブ

  2. 書き込み禁止 (読み取り可能)

  3. 書き込み可能

  1. 筐体または接地接続 (電源以外) に触れて、作業者の身体に蓄積された静電気を放電します。
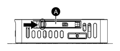
  2. SD カードスロットカバーを開きます。カバーの端を矢印の方向に軽く押すと開きます。
    1. SD カードスロットカバー

  3. SD カードの端子面を下にして SD カードスロットに差し込みます。
  4. カチッとはまるまで押し込みます。
  5. SD カードスロットカバーを閉じます。

検索結果 (0)

閉じる