GP6000-MM01-IT.00

Inserire la scheda SD

NOTA: Come mostrato nell'immagine seguente (esempio a sinistra), è possibile impostare la aletta di controllo scrittura per impedire le operazioni di scrittura sulla scheda SD. Spingere la linguetta in su, come mostrato nell'esempio a destra, per aprire la chiusura e attivare la scrittura sulla scheda SD. Prima di utilizzare una scheda SD di tipo commerciale, leggere le istruzioni del costruttore.
  1. Scheda di controllo della scrittura

  2. Scrittura disabilitata (abilitazione alla lettura)

  3. Abilitato alla scrittura

  1. Toccare l'alloggiamento o il collegamento di terra (non l'alimentazione) per scaricare la carica elettrostatica dal proprio corpo.
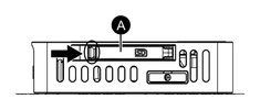
  2. Aprire lo sportellino del vano scheda SD. Per aprire, spingere leggermente il bordo del coperchio in direzione della freccia.
    1. Sportellino del vano scheda SD

  3. Inserire la scheda SD nel vano per scheda SD con la faccia anteriore della scheda SD rivolta in alto.
  4. Spingere fino a sentire uno "scatto".
  5. Chiudere lo sportellino del vano scheda SD.

Risultati ricerca (0)

Chiudere