GP6000-MM01-KO.00

SD 카드 삽입

주의: 아래 그림과 같이(왼쪽의 예) SD 카드에 쓰기 작업을 방지하기 위해 쓰기방지탭을 설정할 수 있습니다. 잠금을 해제하고 SD 카드에 쓰기 작업을 하려면 오른쪽 예와 같이 탭을 위로 미십시오. 시중에서 판매하는 형태의 SD 카드를 사용하기 전에 제조업체의 지침을 읽으십시오.
  1. 쓰기 제어 탭

  2. 쓰기 불가능(읽기 가능)

  3. 쓰기 가능

  1. 하우징이나 접지 접속부(전원 공급 장치가 아님)를 만져 신체에서 발생할 수 있는 정전하를 방전시킵니다.
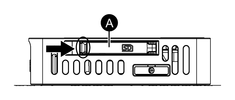
  2. SD 카드 슬롯 덮개를 엽니다. 열려면 커버의 가장자리를 화살표 방향으로 가볍게 밉니다.
    1. SD 카드 슬롯 덮개

  3. SD 카드를 앞면이 위를 향하도록 하여 SD 카드 슬롯에 삽입합니다.
  4. "딸깍" 소리가 날 때까지 밀어 넣습니다.
  5. SD 카드 슬롯 덮개를 닫습니다.

검색 결과 (0)

닫기