GP6000-MM01-FR.00

Insérer la carte SD

NOTE: Tel qu'illustré dans l'image ci-dessous (au côté droit), vous pouvez configurer la languette de contrôle d'écriture pour empêcher l'écriture sur la carte SD. Poussez la languette vers le haut, comme illustré dans l'exemple au côté droit, pour relâcher le verrou et activer l'écriture sur la carte SD. Avant d'utiliser une carte SD commerciale, lisez les consignes du fabricant.
  1. Onglet de contrôle d'écriture

  2. Écriture désactivée (activer pour lire)

  3. Écriture activée

  1. Touchez le boîtier ou la connexion de masse (non pas l'alimentation) pour décharger toute charge électrostatique de votre corps.
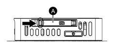
  2. Ouvrir le capot de l'emplacement SD. Pour l'ouvrir, poussez légèrement le bord du couvercle dans le sens de la flèche.
    1. Capot du logement de la carte SD

  3. Insérez la carte SD dans l'emplacement prévu à cet effet, la face avant de la carte SD étant orientée vers le haut.
  4. Poussez jusqu'à ce que vous entendiez un « clic ».
  5. Fermer le capot de l'emplacement SD.

Résultats de recherche (0)

Fermer