GP6000-MM01-EN.00

Inserting the SD Card

NOTE: As shown in the image below (example on the left-hand side), you can set the Write-Control Tab to prevent write operations to the SD card. Push the tab up, as shown in the example on the right-hand side, to release the lock and enable writing to the SD card. Before using a commercial-type SD card, read the manufacturer's instructions.
  1. Write-control tab

  2. Write disabled (enable to read)

  3. Write enabled

  1. Touch the housing or ground connection (not the power supply) to discharge any electrostatic charge from your body.
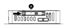
  2. Open the SD card slot cover. To open, lightly push the edge of the cover in the direction of the arrow.
    1. SD card slot cover

  3. Insert the SD card into the SD card slot with the front face of the SD card facing up.
  4. Push until you hear it "click".
  5. Close the SD card slot cover.

Search Results (0)

Close