GP6000-MM01-CS.00

SD 卡插入

注: 如下图所示(左侧示例),您可以通过设置写控制卡舌来防止对 SD 卡进行写操作。将卡舌向上推(如右侧的示例所示),即可解锁并对 SD 进行写操作。在使用商用型 SD 卡之前,请阅读厂家说明。
  1. 写入控制选项卡

  2. 已禁用写入 (启用读取)

  3. 已启用写入

  1. 触摸机罩或接地点(不是电源)将身上的静电放掉。
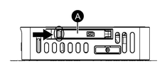
  2. 打开 SD 卡插槽盖。要打开,请沿箭头方向轻推盖子的边缘。
    1. SD 卡插槽盖

  3. 将 SD 卡插入 SD 卡插槽,使 SD 卡正面朝上。
  4. 推入直到听到 "咔哒" 声。
  5. 关闭 SD 卡插槽盖。

搜索结果 (0)

关闭