GP6000-MM01-DE.00

Einführen der SD-Karte

HINWEIS: Wie unten dargestellt (Beispiel links), können Sie mit dem Schreibschutzregler verhindern, dass auf die SD-Karte geschrieben werden kann. Schieben Sie den Regler (gemäß Beispiel rechts) nach oben, um die Verriegelung aufzuheben und Schreibvorgänge auf die SD-Karte zu ermöglichen. Lesen Sie vor Verwendung einer handelsüblichen SD-Karte die Anweisungen des Herstellers durch.
  1. Schreibschutzvorrichtung

  2. Schreiben deaktiviert (Lesefreigabe)

  3. Schreiben aktiviert

  1. Berühren Sie das Gehäuse oder den Erdungsanschluss (nicht die Netzversorgung), um eine elektrostatische Entladung von Ihrem Körper durchzuführen.
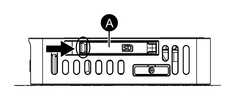
  2. Öffnen Sie die SD-Kartenabdeckung. Zum Öffnen drücken Sie die Kante der Abdeckung leicht in Pfeilrichtung.
    1. SD-Kartensteckplatzabdeckung

  3. Führen Sie die SD-Karte mit der Front nach oben in den SD-Kartensteckplatz ein bis Sie ein Klicken vernehmen.
  4. Beim Einrasten ist ein Klicken zu hören.
  5. Schließen Sie die SD-Kartenabdeckung.

Suchergebnisse (0)

Schließen