STM6000-MM01-ES.04

Procedimiento de instalación en el riel DIN

PELIGRO
PELIGRO DE DESCARGA ELÉCTRICA, EXPLOSIÓN O ARCO ELÉCTRICO
  • Desconecte la alimentación del dispositivo antes de retirar cubiertas o elementos del sistema, y antes de instalar o quitar cualquier accesorio, hardware o cable.
  • Desconecte el cable de alimentación de este producto y de la fuente de alimentación eléctrica antes de instalar o retirar el mismo.
  • Asegúrese de siempre usar un dispositivo adecuadamente calificado para detectar la tensión a fin de confirmar que la alimentación está apagada cuándo y dónde se indique.
  • Reemplace y sujete todas las cubiertas o los elementos del sistema antes de suministrar energía eléctrica a este producto.
  • Use solamente la tensión especificada cuando utilice este producto. Este producto está diseñado para utilizar 24 Vcc. Siempre debe comprobar si el dispositivo recibe alimentación CC antes de aplicarle corriente.
  • Cuando use este producto en lugares peligrosos de Clase I, División 2, Grupos A, B, C y D, instale este producto en un recinto que impida que el operador toque la parte trasera de este producto sin utilizar herramientas.
Si no se siguen estas instrucciones, se producirán lesiones graves o la muerte.
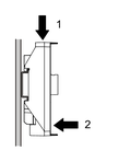
  1. Posicione la ranura en la parte superior del adaptador de montaje del módulo posterior en el borde superior del riel DIN.
    NOTA: Instale el adaptador en un riel DIN que sea compatible con IEC 60715 TH35-7.5.
  2. Presione el adaptador hacia abajo hasta que la ranura en la parte inferior del adaptador de instalación entre debajo del riel DIN.
  3. Inserte y empuje el módulo posterior hacia el adaptador hasta que encajen en su lugar.

Resultados de búsqueda (0)

Cerrar