STM6000-MM01-IT.04

Procedura di installazione del binario DIN

PERICOLO
RISCHIO DI SCARICA ELETTRICA, ESPLOSIONE O ARCO ELETTRICO
  • Disattivare tutte le alimentazioni elettriche del dispositivo prima di smontare coperture o elementi dal sistema e prima di installare o togliere qualsiasi accessorio, componente hardware o cavo.
  • Staccare il cavo di alimentazione dal prodotto e dall'alimentazione prima di installare o rimuovere il prodotto.
  • Per verificare che l'alimentazione sia disattivata, dove e quando indicato usare sempre un rilevatore di tensione correttamente tarato.
  • Prima di ricollegare l'alimentazione al prodotto rimontare e fissare tutte le coperture e i componenti del sistema.
  • Utilizzare questo prodotto solo con il valore di tensione specificato. Questo prodotto utilizza alimentazione a 24 Vcc. Prima di collegare il dispositivo, controllare sempre se l'alimentazione è CC.
  • Quando si usa questo prodotto in ambienti pericolosi di Classe I, Divisione 2, Gruppi A, B, C, e D, installare questo prodotto in un contenitore che impedisca all'operatore di toccarne la parte posteriore senza uso di utensili.
Il mancato rispetto di queste istruzioni provocherà morte o gravi infortuni.
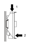
  1. Posizionare l'incavo superiore dell'adattatore di montaggio del Modulo Posteriore sul bordo superiore del binario DIN.
    NOTA: Installare l'adattatore su un binario DIN compatibile con IEC 60715 TH35-7.5.
  2. Spingere in basso l'adattatore finché l'incavo di fondo dell'adattatore di installazione si inserisce nella guida DIN.
  3. Inserire e premere per dritto il modulo posteriore nell'adattatore, fino a bloccarlo in sede.

Risultati ricerca (0)

Chiudere