STM6000-MM01-EN.04

Installation Procedure on DIN Rail

DANGER
HAZARD OF ELECTRIC SHOCK, EXPLOSION, OR ARC FLASH
  • Remove all power from the device before removing any covers or elements of the system, and prior to installing or removing any accessories, hardware, or cables.
  • Unplug the power cable from both this product and the power supply prior to installing or removing the product.
  • Always use a properly rated voltage sensing device to confirm power is off where and when indicated.
  • Replace and secure all covers or elements of the system before applying power to this product.
  • Use only the specified voltage when operating this product. This product is designed to use 24 Vdc. Always check whether your device is DC powered before applying power.
  • When using this product in Class I, Division 2, Groups A, B, C, and D hazardous locations, install this product in an enclosure that prevents the operator from touching the back of this product without the use of tools.
Failure to follow these instructions will result in death or serious injury.
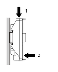
  1. Position the top groove of the rear module installation adapter on the top edge of the DIN rail.
    NOTE: Install the adapter on a DIN rail compatible with IEC 60715 TH35-7.5.
  2. Push down on the adapter until the bottom groove of the installation adapter fits under the DIN rail.
  3. Insert and push the rear module straight in to the adapter, until they lock into place.

Search Results (0)

Close