STM6000-MM01-DE.04

Montage auf DIN-Schiene

GEFAHR
GEFAHR VON ELEKTRISCHEM SCHLAG, EXPLOSION ODER LICHTBOGEN
  • Unterbrechen Sie die gesamte Spannungsversorgung zum Gerät, bevor Sie Abdeckungen oder Komponenten des Systems entnehmen und Zubehör, Hardware oder Kabel installieren bzw. entfernen.
  • Trennen Sie vor dem Installieren bzw. Entfernen des Produkts das Stromkabel sowohl vom Produkt als auch von der Stromversorgung.
  • Verwenden Sie für die Prüfung vorhandener Spannung, wann immer es angezeigt ist, stets einen Spannungsfühler mit zutreffender Bemessungsspannung.
  • Montieren und befestigen Sie alle Abdeckungen oder Komponenten des Systems, bevor Sie dieses Produkt an das Netz anschließen und einschalten.
  • Betreiben Sie dieses Produkt nur mit der angegebenen Spannung. Dieses Produkt wird mit 24 Vdc versorgt. Prüfen Sie stets, ob Ihr Gerät für Gleichstrombetrieb ausgelegt ist, bevor Sie es anschließen und einschalten.
  • Wenn Sie dieses Produkt in explosionsgefährdeten Bereichen der Klasse I, Division 2, Gruppen A, B, C und D verwenden, installieren Sie es in einem Gehäuse, das verhindert, dass der Bediener die Rückseite dieses Produkts ohne Verwendung von Werkzeugen berühren kann.
Die Nichtbeachtung dieser Anweisungen hat Tod oder schwere Verletzungen zur Folge.
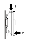
  1. Positionieren Sie die obere Nut des Montageadapters für das hintere Modul auf der oberen Kante der DIN-Schiene.
    HINWEIS: Montieren Sie den Adapter auf einer DIN-Schiene entspr. IEC 60715 TH35-7.5.
  2. Drücken Sie den Adapter nach unten, bis die untere Nut des Montageadapters unter die DIN-Schiene passt.
  3. Setzen Sie das hintere Modul ein, und drücken Sie es gerade hinein, bis es einrastet.

Suchergebnisse (0)

Schließen