STM6000-MM01-JA.04

DIN レールへの取り付け手順

危険
感電、爆発、閃光アークの危険性
  • システムのカバーまたは部品を取り外す前、および付属品、ハードウェア、またはケーブルの取り付け / 取り外しの前に、装置のすべての電源を外してください。
  • 本製品の取り付け / 取り外しの前に、本製品および電源供給元の両方から電源ケーブルを外してください。
  • 電源オフの確認の際は、必ず正しい定格の電圧検出装置を使用し、電源が供給されていないことを確認してください。
  • 本製品に電源を入れる前に、システム内のすべてのカバーおよび部品を取り付けて固定してください。
  • 本製品を使用する際には、必ず指定の電圧をご使用ください。本製品は 24 Vdc の電源を使用するように設計されています。電源を入れる前に、ご使用の装置が DC 対応であるかを常に確認してください。
  • 本製品を Class I、Division 2、Groups A、B、C、D の危険区域で使用する場合は、オペレーターが工具を使用することなく本製品背面部に触れられないようエンクロージャーに取り付けてください。
上記の指示に従わないと、死亡または重傷を負うことになります。
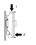
  1. リアモジュール取り付けアダプターの上部の溝を DIN レールの上端に配置します。
    注記: アダプターは、IEC 60715 TH35-7.5 に準拠した DIN レールに取り付けてください。
  2. 取り付けアダプターを押し下げて、アダプターの下部の溝を DIN レールの下端に入れます。
  3. リアモジュールをアダプターに真っ直ぐ入れ、所定の位置にロックされるまで押し入れます。

検索結果 (0)

閉じる