STM6000-MM01-CS.04

DIN 导轨安装步骤

危险
电击、爆炸或电弧危险
  • 在安装或卸载各种附件、硬件或者电缆之前或移除系统的任何护盖或元器件前,务必先断开电源。
  • 在安装或拆卸产品之前,从本产品和电源上拔下电源线的插头。
  • 始终使用合适的电压感应设备来确认电源已经关闭。
  • 装回并固定好系统的所有护盖或元件之后再给产品供电。
  • 操作本产品时,只使用指定的电压。本产品设计使用 24 Vdc。在供电之前,务必检查装置是直流供电。
  • 在 I 级 2 区 A、B、C 和 D 组危险环境中使用本产品时,将本产品安装到一个机柜中,防止操作员不使用工具即可触摸产品背面。
未按说明操作将导致人身伤亡等严重后果。
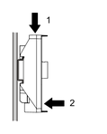
  1. 将主机模块安装适配器的顶部凹槽放置在 DIN 导轨的顶部边缘。
    注: 将适配器安装在符合 IEC 60715 TH35-7.5 的 DIN 导轨上。
  2. 向下推适配器,直到安装适配器的底部凹槽卡扣到 DIN 导轨下面。
  3. 径直将主机模块插入并推入适配器,直至其锁定到位。

搜索结果 (0)

关闭