STM6000-MM01-FR.04

Procédure d'installation sur un rail DIN

DANGER
RISQUE DE CHOC ELECTRIQUE, D'EXPLOSION OU D'ARC ELECTRIQUE
  • Débranchez toutes les sources d'alimentation de l'appareil avant de retirer tout capot ou élément du système, et avant d'installer ou de retirer tout accessoire, élément matériel ou câble.
  • Débranchez le câble d'alimentation du produit et de l'alimentation avant d'installer ou de retirer le produit.
  • Utilisez toujours un dispositif de mesure de la tension correctement calibré afin de vous assurer que l'unité est hors tension, lorsqu'il est indiqué.
  • Replacez et fixez tous les capots et éléments du système avant de mettre le produit sous tension.
  • Utilisez uniquement la tension spécifiée pour alimenter le produit. Ce produit est conçu pour une utilisation avec une alimentation de 24 Vcc. Vérifiez si votre équipement est une unité CC avant de le mettre sous tension.
  • Lors de l'utilisation de ce produit dans des endroits dangereux de Classe I, Division 2, Groupes A, B, C et D, installez ce produit dans un boîtier qui empêche que l'opérateur touche l'arrière de ce produit sans l'utilisation d'outils.
Le non-respect de ces instructions provoquera la mort ou des blessures graves.
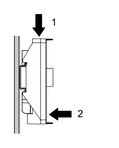
  1. Positionnez la rainure supérieure de l'adaptateur d'installation du module arrière sur le bord supérieur du rail DIN.
    NOTE: Installez l'adaptateur sur un rail DIN compatible avec la norme CEI 60715 TH35-7.5.
  2. Poussez sur l'adaptateur jusqu'à ce que la rainure inférieure de l'adaptateur d'installation s'installe sous le rail DIN.
  3. Insérez et poussez le module arrière jusqu'à ce qu'il verrouille en place.

Résultats de recherche (0)

Fermer