Conexión del cable de alimentación CC
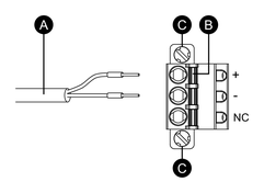
Conector de alimentación de CC: Bloques de terminales de resortes

|
Conexión |
Cable |
|---|---|
|
+ |
24 Vcc |
|
- |
0 Vcc |
|
NC |
Sin conexión |
- Retire el tornillo en el terminal FG en la parte trasera del producto, conecte el cable de puesta a tierra y apriete el tornillo.
- Confirme que el cable de alimentación no está conectado a la fuente de alimentación.
- Asegúrese de engarzar correctamente el terminal de pines al extremo de cada uno de los hilos del cable de alimentación.
- Presione el botón de apertura usando un pequeño destornillador plano para abrir el agujero deseado.
- Introduzca cada uno de los hilos del cable de alimentación en el agujero correspondiente. Suelte el botón de apertura para sujetar el hilo en el lugar.
- Después de introducir ambos hilos del cable de alimentación, introduzca el conector de alimentación de CC en el conector de alimentación de este producto.
- Coloque los tornillos en ambos lados del conector.NOTA: El par de apriete necesario es de 0,3 N•m (2,7 lb-in).

