PSA6000-MM01-EN.00

How to connect the DC Power Cord

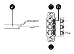
DC Power Connector: Spring Clamp Terminal Blocks

Connection

Wire

+

24 Vdc

-

0 Vdc

NC

No connection

  1. Remove the screw on the FG terminal on the rear of the product, connect the grounding wire, and tighten the screw.
    NOTE:
    • The necessary torque is 1.5 N•m (13.3 lb-in).

    • If the wire is not connected to the FG terminal properly, touch may not respond normally.

  2. Confirm the power cord is not connected to the power supply.
  3. Crimp a pin terminal properly to the end of each power cable wire.
  4. Push the opening button with a small and flat screwdriver to open the desired pin hole.
  5. Insert each power cord wire into its corresponding hole. Release the opening button to clamp the wire in place.
    NOTE:
    • When using stranded wire, do not short with neighboring wires.

    • When connecting with stranded wires, do not solder the stranded wires.

    1. Power cord

    2. Opening button

    3. Screw

  6. After inserting all two power cord wires, insert the DC power connector into the power connector on this product.
  7. Affix the screws on both sides of the connector.
    NOTE: The necessary torque is 0.3 N•m (2.7 lb-in).

Search Results (0)

Close