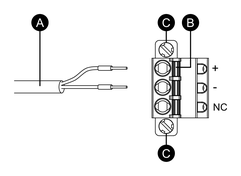
Anschluss des Gleichstromkabels
Gleichstromsteckverbinder: Federspann-Klemmleisten

|
Verbindung |
Draht |
|---|---|
|
+ |
24 Vdc |
|
- |
0 Vdc |
|
NC |
Keine Verbindung |
- Entfernen Sie die Schraube an der rückseitigen FG-Klemme des Geräts, schließen Sie das Erdungskabel an, und ziehen Sie die Schraube fest.
- Stellen Sie sicher, dass das Stromkabel nicht an das Stromnetz angeschlossen ist.
- Crimpen Sie eine Steckerklemme richtig an das Ende der einzelnen Stromkabeldrähte.
- Drücken Sie den Öffnungsknopf mit einem kleinen, flachen Schraubenzieher, um das gewünschte Steckloch zu öffnen.
- Führen Sie die einzelnen Kabeldrähte in ihre jeweiligen Halterungen ein. Lassen Sie den Öffnungsknopf los, um den Draht jeweils festzuklemmen.
- Wenn die zwei Netzkabeldrähte eingeführt sind, schließen Sie den Gleichstromstecker am Netzanschluss dieses Geräts an.
- Befestigen Sie die Schrauben auf beiden Seiten des Steckerverbinders.HINWEIS: Das erforderliche Anzugsdrehmoment beträgt 0,3 N•m (2,7 lb-in).

