PSA6000-MM01-KO.00

DC 전원 코드 연결 방법

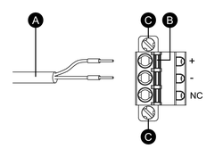
DC 전원 커넥터: 스프링 클램프 단자판

연결

전선

+

24 Vdc

-

0 Vdc

NC

연결 없음

  1. 제품 뒷면의 FG 단자에 있는 나사를 제거하고 접지선을 연결한 다음 나사를 조입니다.
    주의:
    • 필요한 토크는 1.5 N•m (13.3 lb-in) 입니다.

    • 전선이 FG 단자에 제대로 연결되지 않으면 터치해도 정상적으로 반응하지 않을 수 있습니다.

  2. 전원 코드가 전원 공급 장치에 연결되지 않았는지 확인합니다.
  3. 각 전원 케이블 와이어의 끝에 핀 단자를 제대로 끼워 맞춥니다.
  4. 작고 납작한 드라이버로 개방 버튼을 눌러 원하는 핀 구멍을 엽니다.
  5. 각 전원 코드 전선을 해당하는 구멍에 삽입합니다. 개방 버튼을 해제하여 전선을 제자리에 고정합니다.
    주의:
    • 연선을 사용할 때는 인접한 전선과 합선되지 않도록 하십시오.

    • 연선으로 연결할 때는 연선을 납땜하지 마십시오.

    1. 전원 코드

    2. 개방 버튼

    3. 나사

  6. 두 전원 코드선을 모두 삽입한 후 DC 전원 커넥터를 이 제품의 전원 커넥터에 삽입합니다.
  7. 커넥터의 양쪽에 나사를 부착합니다.
    주의: 필요한 토크는 0.3 N•m (2.7 lb-in) 입니다.

검색 결과 (0)

닫기