PSA6000-MM01-CS.00

如何连接 DC 电源线

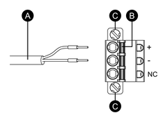
直流电源连接器:弹簧夹型端子块

连接

导线

+

24 Vdc

-

0 Vdc

NC

无连接

  1. 卸下产品背面 FG 端子上的螺钉,连接接地线,然后拧紧螺钉。
    注:
    • 需要 1.5 N•m (13.3 lb-in) 的力矩。

    • 如果接线未正确连接到 FG 端子,则触摸可能会响应异常。

  2. 请确认电源线没有连接到电源上。
  3. 将针脚端子正确压接到每条电源线的末端。
  4. 请用一个小一字螺丝刀压住打开按键,以打开想要的引脚端口。
  5. 将每线电源线插入到对应的孔内。请松开打开按键将导线固定到位。
    注:
    • 使用绞合线时,不要与邻近的电线短路。

    • 使用绞合线连接时,请勿焊接绞合线。

    1. 电源线

    2. 打开按钮

    3. 螺钉

  6. 插入全部二条电源线后,将 DC 电源接头插回本产品。
  7. 将螺钉固定在接头的两侧。
    注: 需要 0.3 N•m (2.7 lb-in) 的力矩。

搜索结果 (0)

关闭